德淮半導體被賣,買方成立僅4個月估值近百億
來源:全球半導體觀察
據京東拍賣平臺信息,8月7日,德淮半導體有限公司整體資產成功拍出,買受人為榮芯半導體(寧波)有限公司(以下簡稱“榮芯半導體”),成交價為16.66億元人民幣。

△Source:京東拍賣官網信息截圖
根據該平臺的競買公告,德淮半導體有限公司破產管理人于2021年8月6日10時至2021年8月7日10時止在京東拍賣破產強清平臺進行公開拍賣活動,拍賣標的為德淮半導體有限公司整體資產【包括德淮半導體有限公司住所地現有全部動產和不動產(芯片成品和芯片原材料除外)】,標的物所在地位于江蘇淮安市淮陰區長江東路599號,評估價為23.80億元,起拍價為16.66億元。

△Source:京東拍賣官網信息截圖
拍賣成交確認書顯示,買受人榮芯半導體人于2021年8月7日在拍賣人于京東拍賣平臺舉行的【破產】德淮半導體有限公司整體資產[全部動產和不動產(芯片成品和芯片原材料除外)],拍賣專場(專場編號:2753674),通過公開競價成交拍賣標的,成交價為16.66億元。
成立四個月估值達95億元
據企查查資料,榮芯半導體成立于2021年4月2日,注冊資本2.32億元,法人代表為韓冰,是一家半導體分立器件制造商,經營范圍包括半導體分立器件制造;集成電路芯片及產品制造;技術服務、技術開發、技術咨詢、技術交流、技術轉讓、技術推廣;集成電路銷售;集成電路設計;貨物進出口;技術進出口等。

△Source:企查查資料截圖
8月4日,榮芯半導體獲得戰略投資,由具有半導體深厚背景的產業資本、互聯網科技公司、以及頂尖財務機構等共同參投,投資方包括馮源資本,紅杉資本,美團,民和資本,元禾璞華,珠海通沛等,估值金額達95億元。
其中,元禾璞華合伙人陳大同曾是手機芯片公司展訊通信的聯合創始人;馮源資本出資人中有韋爾股份創始人虞仁榮,韋爾股份在2019年收購了陳大同聯合創立的另一家公司:CMOS芯片設計企業豪威科技,并一舉成為國內CMOS龍頭;而美團近期也在密集投資半導體企業,僅今年6-8月3個月時間便已投資了4家芯片公司,除了榮芯半導體外,還包括AI視覺芯片研發及基礎算力平臺公司愛芯科技、人工智能芯片研發商智砹芯半導體、3D傳感器(激光雷達)制造商禾賽科技等。
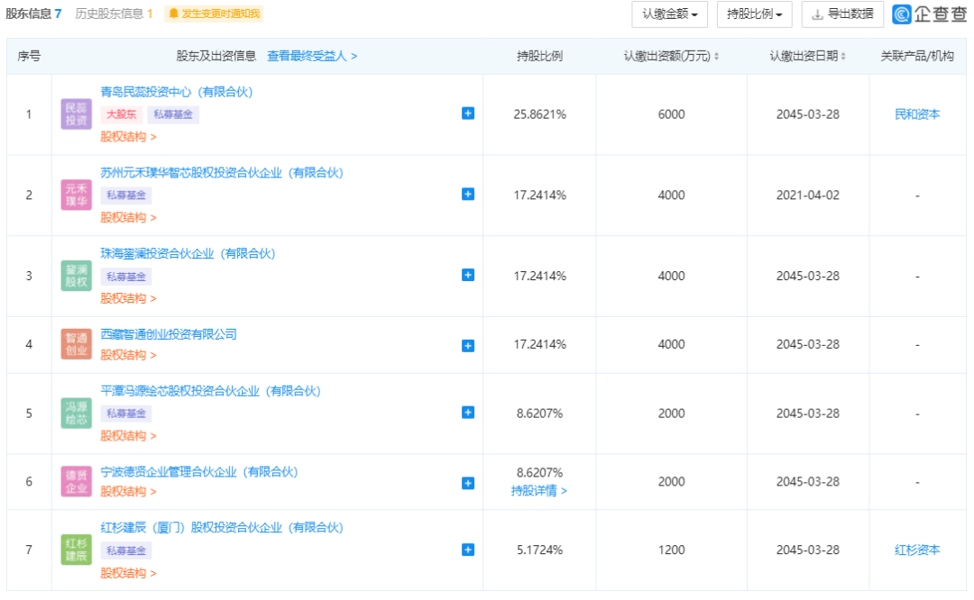
股東信息方面,企查查顯示榮芯半導體的股東包括青島民蕊投資中心、蘇州元禾璞華、珠海鋆瀾投資、西藏智通創業投資、平潭馮源繪芯股權投資、寧波德賢企業管理合伙企業、紅杉建辰(廈門)股權投資,分別持股約25.86%、17.24%、17.24%、17.24%、8.62%、8.62%、5.17%。
(聲明:本文版權歸原作者所有,轉發僅為更大范圍傳播,若有異議請聯系我們修改或刪除:wang@cgbtek.com)
COPYRIGHT北京華林嘉業科技有限公司 版權所有 京ICP備09080401號